Golf Cabrio Mod. 84-93 Seite 315

Hinweis: Dies ist eine maschinenlesbare No-Flash Ansicht.
Klicken Sie hier um zur Online-Version zu gelangen.

Inhalt

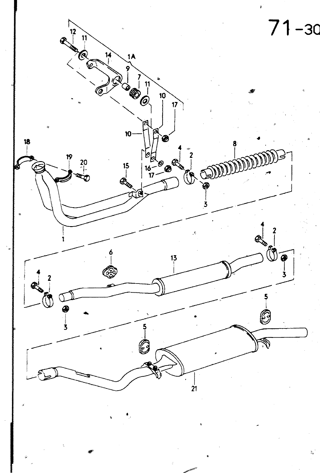
13 HAUPTGRUPPE 2 BILD ERSATZTEILE NR KR FTST0FF8EHAELTER UNO ROHRE ABGASANLAGE KUEHLAGGREGATE MIT KUEHLMITTELKREISLAUF BENENNUNG BEMERKUNG ST KENNBUCHST 6 7 8 9 10 11 12 13 14 15 16 17 18 19 20 121 121 121 867 253 091 A 868 253 093 823 253 143 0 N 011 008 18 N 010 350 6 893 253 147 E 533 253 147 823 253 147 A 823 253 149 A 867 253 177 431 253 861 253 N 904 N 010 533 253 861 253 N 010 011 022 rH M3 191 253 N 010 155 253 205 a 209 772 01 244 16 awd 253 239 11 525 13 146 4 269 269 A 345 S 609 0 155 253 609 B 155 253 609 C ABGASROHR VORSCHALLOAEMPFER NACHSCHALLOAEMPFER VORN 1 3LTR ABGASROHR HALTER SCHELLE SECHSKANTMUTTER SECHSKANTSCHRAUBE HALTERING F 15 E Q11 290 H4LTERING F 15 E 011 291 HNlTtRING GUMMIBUCHSE WELLROHR ILANGZEITAUSFUEHRUNGI DISTANZROHR LASCHE SCHEIBE SECHSKANTSCHRAUBE VORSCHALLDAEMPFER HALTER SECHSKANTSCHRAUBE SCHEIBE SECHSKANTMUTTER SEL8STSICHERN0 KLEMMSTUECK MIT GEWINDE KLEMMSTUECK SECHSKANTSCHRAUBE NACHSCHALLOAEMPFER F 15 E 011 290 NACHSCHALLOAEMPFER F 15 E 011 291 NACHSCHALLDAEMAFER ILANGZEITAUSFUEHRUNGI F 15 E 011 291 VORN 42 5MM M8 M8X50 88 4X33X2 M8X30 M8X18 A8 4 VMS M8X45 71 30 0 izga KRAFTSTOFFBEHAELTER UND ROHRE ABGASANLAGE


Vorschau Golf Cabrio  Mod. 84-93 Seite 315