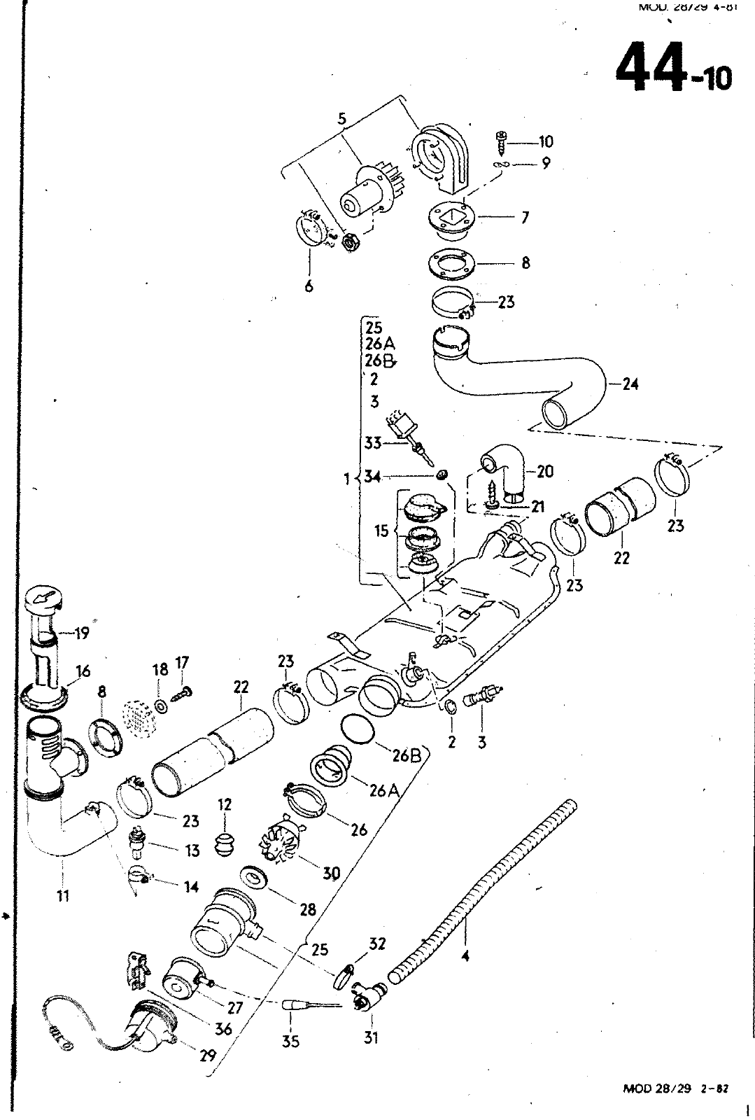
9 23 25 26A 268 2 33 20 34 1 L IM 23 22 23 X 23 18 o sa 2 3 26B 26A 23 26 Ep 28 8L 25 32 m 27 36 35 MOO 28 29 2 W HAUPTGRUPPE 2 KRAFTSTOFFBEHAELTER UND ROHRE ABGASANLAGE HEIZUNG BILD 2 3 131 4 14 6 7 8 10 t1 12 13 14 15 16 17 18 19 20 21 22 23 24 25 26 2 A 2W 27 28 29 30 ERSATZTEILE NR BENENNUNG BEMERKUNG HEIZGERAET MIT GEBLAESE UND ROHRE FUER ZUSATZHEIZUNG F 28 B 012 326 281 261 105 B 281 261 105 E 291 261 105 B 2U MI 115 B 211 963 319 A 25t 963 315 A 211 261 129 A 211 261 129 A 281 261 193 A 024 505 965 I 261 H 261 365 224 012 013 561 377 281 2 1 411 261 253 211 563 N 024 261 506 211 563 239 281 261 N 013 353 575 011 651 281 261 251 261 378 603 013 565 500 122 03 508 1 024 281 261 565 281 963 031 004 301 185 1 261 163 1 261 845 B 1 563 025 A 1 3M3 1 963 037 A 1 563 041 F 28 B 012 327 HEIZGERAET KOMPLETT MIT LEITUNGSSATZ SIEHE BILDTAFEL HEIZGERAET KOMPLETT MIT LEITUNGSSATZ SIEHE BILDTAFEL HEIZGERAET KOMPLETT MIT LEITUNGSSATZ SIEHE BILDTAFEL DICHTUNG GLUEHKERZE GLUEHKERZE SCHLAUCH SCHLAUCH KUERZEN AUF MOTOR FUER HEIZLUfTGEBLAESE SCHELLE STUTZEN DICHTUNO FEOENSCHCIBE LINSENBLECHSCHRAUBE WARMIUFTAUSSTROEMER VEM CHLUSSSTOPFEN TEMPERATURFUEHLER SCHELLE UCBERMITZUNGSSCHALTER TVELLE LINSENBLECHSCHRAUBE SCHEIBE WARMLUFTAUSSTROEMtR OBERTEIL A8GASR0WR LINSENBLECHSCHRAUBE SCHLAUCH SCHELLE KRUEMMER MOTOR lENTSTOERTI FUER VERBRENNUNGSLUFTGEBLAESE SPANNSCMELLE LEITSCWAUFEL6EHAEUSE DICHTRING RUNOSTECKERGEHAEUSE 8UMMISTUETZR1N0 FUER MOTOR SCHUTZKAPPE RADIALRAO 44 10 11 I 251 qk3 097 IBRENNLUFTVENTIL

Vorschau Lastentransporter LT F-28-D-007 273 Seite 273
Hinweis: Dies ist eine maschinenlesbare No-Flash Ansicht.
Klicken Sie hier um zur Online-Version zu gelangen.