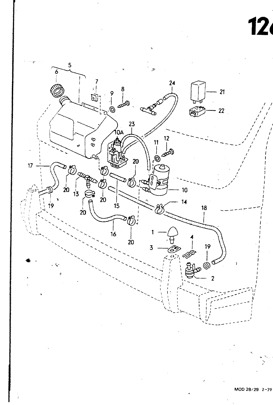
126 MAUPTGRUPPE 24 13 8 ß 22 23 OA r 20 a 20 13 20 20 16 20 4 7 ILD ERSATZTEILE NR BENENNUNG ELEKTRISCHE AUSRUESTUNG BEMERKUNG ST MODELL 3 4 5 6 7 8 9 10 10 11 12 3 14 15 16 17 18 19 20 21 22 23 24 113 955 185 113 955 187 113 955 189 113 955 199 281 955 451 211 955 455 N 015 421 N 013 9 9 N 011 692 135 955 679 823 955 651 N 011 666 3 N 014 139 5 113 955 975 8 171 971 8f N 020 348 1 021 119 569 N 024 509 4 113 955 200 135 937 501 N 020 301 1 SCHEINWERFERWASCHANLAGE SPmiTZOUESE STAUVENTIL UMTEHLA HALTEFEOER FLUeSSIGKEITSBEHAELTER VERSCHCUSS SCHNAPPMUTTER LINSENeLECHSCHRAUBE SCMEI PUMPE SCHEINWERFER PUMPE WINDSCHUTZSCHEIBE SChCIBE LINSENSCHRAUBE T STUeCK CLIP SCHLAUCH IN ROLLEN ZU 5 M BESTELLEINHEIT 5 KUERZEN AUF TUELLE SCHELLE RELAIS FUER SCHEINWERFERWASCHANLAGE RELAISTRAEGER SCHLAUCH IN ROLLEN ZU 10 M BESTELLE INWEIT 10 KUERZEN AUF 84 8X20 84 8X16 5 1 86 1 M6X12 SI0 3 60 MM 320 MM 830 MM 1740 MM LC12 22 300 MM 280 MM 126 0 19 4 MOD 28 29 2 79

Vorschau Lastentransporter LT F-28-D-007 273 Seite 713
Hinweis: Dies ist eine maschinenlesbare No-Flash Ansicht.
Klicken Sie hier um zur Online-Version zu gelangen.