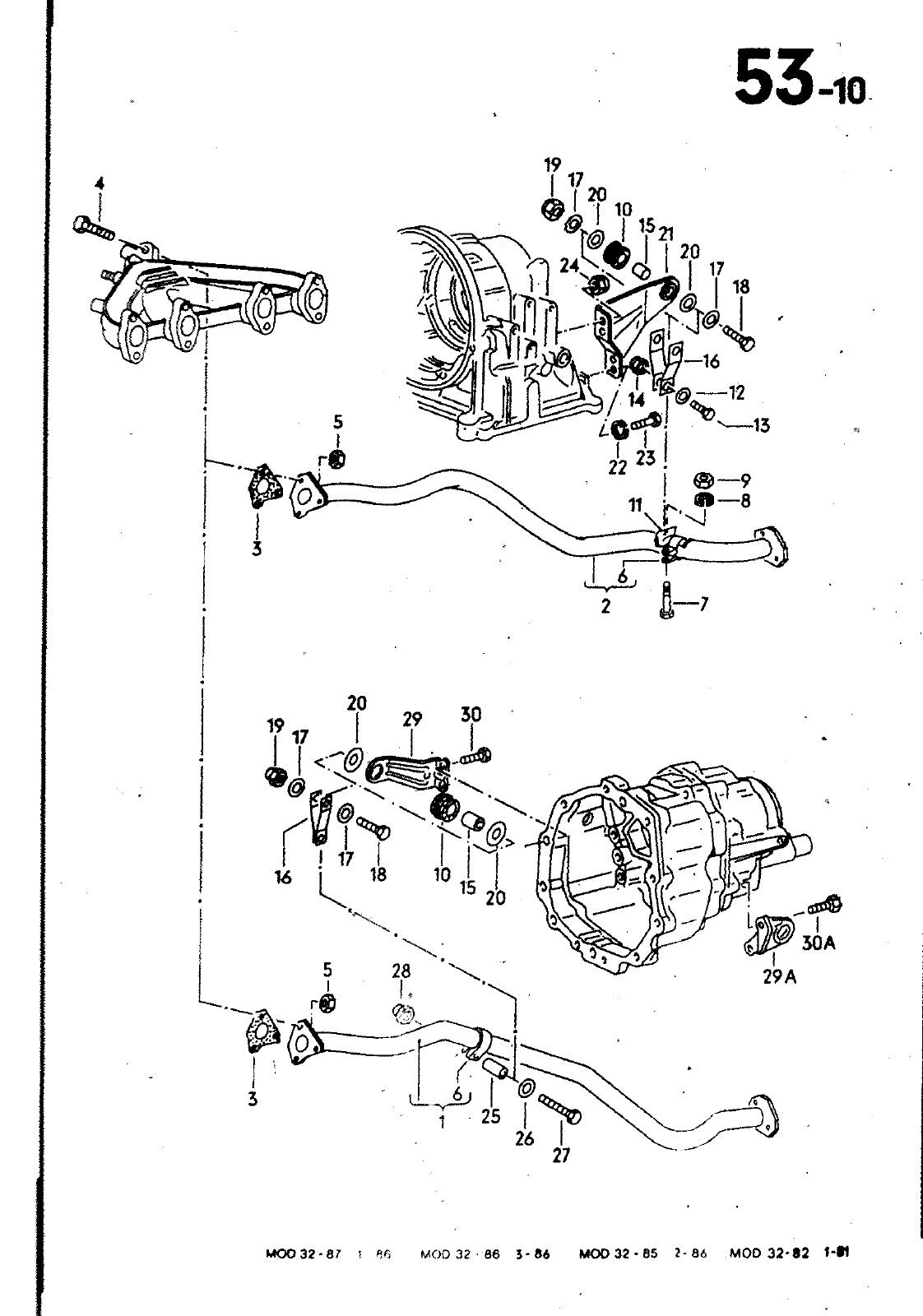
53io 20 10 1 1 I 15 24 m 3 aaj G r 20 29 30 r f 0 18 10 k 20 30A 28 29A 1 25 MC03 87 I as Moocw a 3 86 M00 32 85 2 86 MOD 32 2 14M HAUPTGRUPPE KRAFTSTOFFBEHAELTER UNO ROHRE ABGASANLAGE KUEHLAGGREGATE MIT KUEHLMITTELKREISLAUF BILD ERSATZTEILE NR BENENNUNG BEMERKÜNG ST KENNBUCHST 1 2 3 4 5 6 7 8 9 10 11 12 13 14 15 16 17 18 19 20 21 22 23 24 25 26 27 28 29 30 811 253 101 CA 811 253 101 CB 433 253 N 010 N 871 N N N 022 253 010 012 OM 115 440 3 252 1 143 455 3 011 3 010 13 823 253 431 253 481 857 N OTÖ N 022 431 253 803 253 N 011 010 022 823 253 431 253 012 010 022 149 A 197 C 707 254 14 167 1 205 8 209 A 670 11 247 8 146 4 211 249 011 t 1 857 253 N 011 N OfO N 0 843 253 010 N O t 252 167 205 5 13 385 7 146 4 253 B 363 2 242 13 ABGASROHR VORN 1 8LTR ABGASROHR ABGASROHR EDELSTAHL DICHTUNG SECHSKANTSCHRAUBE SECHSKANTMUTTER SCHELLE SECHSKANTSCHRAUBE FEDERRING SECHSKANTMUTTER GUMMIBUCHSE HALTER DISTANZSCHEIBE SECHSKANTSCHRAUBE SECHSKANTMUTTER SELBSTSICHERND DISTANZROHR LASCHE SCHEIBE SECHSKANTSCHRAUBE SECHSKANTMUTTER SELBSTSICHERND SCHEIBE HALTER FUER ABGASROHR FEOERRING SECHSKANTSCHRAUBE SECHSKANTMUTTER SELBSTSICHERND DISTANZROHR SCHEIBE SECHSKANTSCHRAUBE SECHSKANTMUTTER SELBSTSICHERND HALTER SECHSKANTSCHRAUBE SECHSKANTSCHRAUBE VORN VORN M10X40 MIO 48 5MM M10X55 A10 MIO A 10 5 M10X25 MM10 88 4X24X2 M8X35 VM8 8 3X32X2 A10 M10X20 MM10 A8 4 M8X85 VMS M8X46 M8X25 4 ZTLINOER JN AUTOMATIC AUTOMATIC AUTOMATIC AUTOMATIC AUTOMATIC AUTOMATIC AUTOMATIC AUTOMATIC AUTOMATIC AUTOMATIC AUTOMATIC AUTOMATIC 53 10 KRAFTSTOFFBEHAELTER UND ROHRE ABGASANLAGE D

Vorschau Passat Mod 87-88 Seite 331
Hinweis: Dies ist eine maschinenlesbare No-Flash Ansicht.
Klicken Sie hier um zur Online-Version zu gelangen.