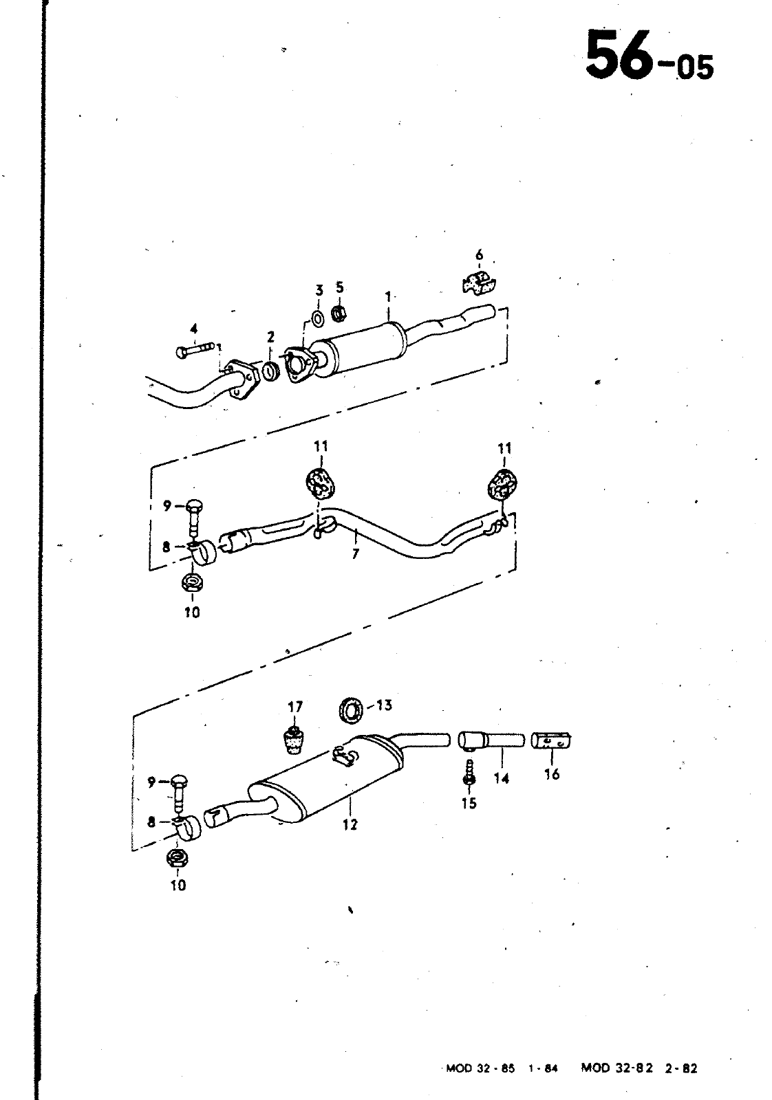
56o5 0 r 10 13 17 14 10 MOD 32 85 1 84 MOD 32 82 2 82 HAUPTGRUPPE KRAFTSTOFFBEHAELTER UND ROHRE ABGASANLAGE KLCHLAGGREGATE MIT KUEHLMITTELKREISLAUF ERSATZTEILE NR BENENNUNG BEMERKUNG ST MODELL 2 3 4 5 6 7 8 I 8 9 10 1 1 I 12 12 1 3 14 15 1 7 321 253 209 A 855 253 137 A N 011 670 11 N 010 345 5 803 253 III 321 253 149 A 321 253 201 A 191 253 139 F N 010 448 1 N 011 010 13 823 253 147 R 321 253 609 C 323 253 609 8 861 253 147 331 253 141 C N 010 210 431 253 14TA VORSCHALLDAEMPFER ZWISCHENROHR NACHSCHALLDAEMPFER 1 6LTR T OIESEL CY VORSCHALLDAEMPFER EDELSTAHL OICHTRING SCHEIBE SECHSKANTSCHRAUBE SECHSKANTMUTTER GUMMIPUFFER V ZWISCHENROHR ENTFALLEN ERSATZ SCHELLE SECHSKANTSCHRAUBE SECHSKANTMUTTER HALTERING NACHSCHALLDAEMPFER NACHSCHALLDAEMPFER EDELSTAHL HALTERING A8GASR0HRVERLAENGERUNG EDELSTAHL SECHSKANTSCHRAUBE ANSCHLAGPUFFER 50 50 B8 4X24X2 M8X45 M8 191 253 139 F 54 5MM M10X48 MIO M6X10K AUTOMATIC VARIANT VARIANT 56 05 KRQFTQTnFFRFWOFITFO HWn OnWBF ARKaSaNIOnF 0 12 0301

Vorschau Passat Mod 87-88 Seite 343
Hinweis: Dies ist eine maschinenlesbare No-Flash Ansicht.
Klicken Sie hier um zur Online-Version zu gelangen.