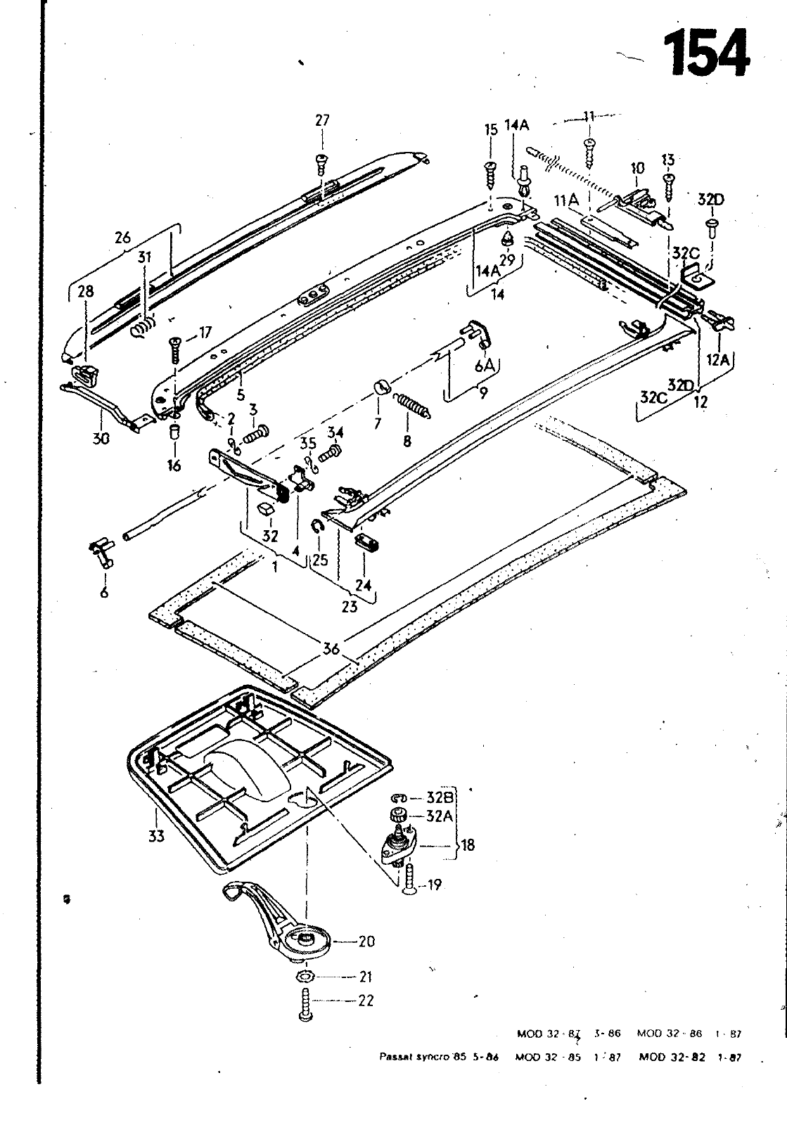
154 15 yA 11A I J aaGgb 8 520 26 C 29 14A 28 S 12A 6A 32C Z 1 30 32 25 24 23 36 fD 32B 32A 33 20 M00 32 82 3 86 MO0 32 88 T 87 Pa m gyncfo85S 86 MOO 32 85 1 87 MOD 32 82 1 87 HAUPTGRUPPE 8 AUFBAU BILD ERSATZTEILE NR BENENNUNG BEMERKUNG ST MODELL SCHIEBEDACH EINBAUTEILE 6 6A 7 8 9 10 10 11 11A 12 M2 2A 13 1 4 14A 15 16 1 7 18 19 20 21 22 23 24 25 26 27 28 29 30 30 31 32 132 32A 32B 32C 32D 33 81 1 877 151 81 1 877 152 N 012 221 N 014 122 321 877 157 321 877 158 191 877 227 0B 66 03 BB 08 86 03 88 811 877 269 811 877 270 III 127 537 321 877 277 321 877 279 811 877 305 811 877 306 N 014 2 5 321 877 311 811 877 351 811 877 352 41 877 359 N 013 960 321 877 381 481 853 577 N 014 089 443 877 437 N 014 21Ö 811 877 403 N 014 212 443 877 453 8 86 03 88 N 012 097 014 123 811 877 631 321 877 647 012 324 171 877 651 N 014 089 861 877 659 443 877 665 443 877 681 443 877 682 861 877 695 443 877 9 443 877 73 823 877 7TH N 012 43 321 877 83 N 321 877 647 08 86 03 88 08 86 03 88 443 877 721 N N 1DH 3UK A 2 A 2 A 2 B 01C 3 3 1DH 3UK KULISSENFUEHRUNG KULISSENFUEHRUNG FEOERSCHEIBE L1NSENSGHRAU8E NIEDERHALTER NIEDERHALTER EINFASSKEDER FUER DACHRAHMEN HELLGRAU PASTELLBEIGE aUSSJELLER AUSSTELLER KLEMME ZUGFEDER VERBINßUNGSSTANGE FUE RUNG MIT SEILZUG FUEHRUNG MIT SEILZUG LINSENSENKSCHRSUBE ABDECKLEISTE FUEHRUNGSSCHIENE LINKS FUEHRUNGSSCHIENE RECHTS HALTER FUER FUEHRUNGSSCHIENE LINSENBLECHSCHRAUBE SEILZUGFUEHRUNG SPREIZNIET LINSENSENKBLECHSCHRAUBE GEWINDENIET SENKSCHRAUBE SEILZUGANTRIEB SENKSCkRAUBE KURBEL SATINSCHWARZ SfCHERUWGSSCHEfBE LINSENSCHRAUBE WASSERLEITBLECH GLEITSTUECK SICHERUWGSSCHEIBE WINDABWEISER LINSENSENKBLECHSCHRAUBE FUEHRUNGSSTUECk PUFFER AUSSTELLER AUSSTELLER ÖREHFEOER GLEITSCHUH GLETTSCHUH RITZEL SICHERUNGSSCHEIBE ANSCHLAG HOHLNIET ABDECKUNG GRAU PASTELLBEIGE LINSENSCHRAUBE SELBSTSICHERND LINKS RECHTS 4X8X0 5 M4X8 LINKS RECHTS 2108MM LINKS RECHTS LINKS HINTEN RECHTS HINTEN AM4X12 83 9X9 5 BZ3 9X9 5 M4 AM4X15 AM4X20 A 4 3 AM4X10 32 BZ3 9X9 5 LINKS RECHTS LINKS RECHTS B4X7 M4X10 0 W 1191

Vorschau Passat Mod 87-88 Seite 787
Hinweis: Dies ist eine maschinenlesbare No-Flash Ansicht.
Klicken Sie hier um zur Online-Version zu gelangen.